一、单选题
1. (钳工)进行錾削操作时,应注意手锤挥动方向及錾削方向,临近凿断时应(),以免断片飞出伤及他人。(1分)
A. 大力锤击
B. 轻轻锤击
考生回答
--
正确答案
B
打分
2. (用电安全)在三相五线制中,以下两线之间的电压是380V的是()(1分)
A. 两条相线之间
B. 相线和零线之间
C. 相线和地线之间
D. 零线和地线之间
考生回答
--
正确答案
A
打分
3. (通识)下列哪些服装适合在实训场地内穿着?(1分)
A. 西服
B. 连衣裙
C. 背心短裤
D. 军训服
考生回答
--
正确答案
D
答案解析
实训中可能会出现接触到高温切屑,飞溅的焊渣等危险情况,需要穿长袖长裤,结实耐热的衣物。穿过于宽松、肥大、厚实的服装影响操作,还可能会被卷入机器,缠住操纵杆,引发伤害。
打分
4. (用电安全)当实训设备上的保险管烧断后,以下正确的做法是(1分)
A. 自行拆卸一个其它位置的保险管换上
B. 通知指导教师,让指导教师来处理
C. 无视烧断的保险管继续实训
D. 装作若无其事的样子等待实训结束
考生回答
--
正确答案
B
打分
5. (数控)为防止铣刀撞击工件出现安全事故,数控铣床回零点时应该先回控制铣刀上下移动的(1分)


A. X轴
B. Y轴
C. Z轴
D. 任意一个都行
考生回答
--
正确答案
C
打分
6. (通识)这个标志是何含义?(1分)


A. 必须注意观察
B. 必须戴护目镜
考生回答
--
正确答案
B
打分
7. (钳工)钻孔时用力要均匀,并注意排屑,将要钻通时,为防止用力过猛出现事故,应(1分)
A. 加大进给量
B. 减小进给量
考生回答
--
正确答案
B
打分
8. (焊接)在气焊时,乙炔瓶在使用过程中应()放置(1分)
A. 水平
B. 直立
考生回答
--
正确答案
B
答案解析
乙炔瓶装有填料和溶剂(丙酮),卧放使用时,丙酮易随乙炔气流出,不仅增加丙酮的消耗量,还会降低燃烧温度而影响使用,同时会产生回火而引发乙炔瓶爆炸事故。
打分
9. (普车)普车实训时能否戴手套进行操作?(1分)
A. 能,手套可以保护手不被工件、切屑划伤
B. 不能,手套容易开线,可能被工件缠住
考生回答
--
正确答案
B
打分
10. (用电安全)在日常生活中使用的电压等级为220V,即火线和零线之间的电压,其中火线用()电线,零线用()电线。(1分)
A. 黄色,红色
B. 红色,蓝色
考生回答
--
正确答案
B
打分
11. (通识)这个标志是何含义?(1分)


A. 必须穿戴整齐
B. 必须穿工作服
考生回答
--
正确答案
B
打分
12. (用电安全)人触电后能自己摆脱的最大电流称为摆脱电流,交流电流为(),直流电流为()(1分)
A. 30mA,50mA
B. 50mA,30mA
考生回答
--
正确答案
A
打分
13. (普车)普车安放时都要倾斜一定的角度,是因为(1分)
A. 美观大方
B. 方便安全员巡视
C. 方便操作者进出
D. 使卡盘不正对前后机床的操作者,防止工件崩飞时伤人
考生回答
--
正确答案
D
打分
14. (通识)这个标志是何含义?(1分)


A. 当心激光
B. 当心微波
C. 当心电离辐射
D. 当心弧光
考生回答
--
正确答案
A
打分
15. (焊接)关闭气焊时应先关闭()再关闭()(1分)
A. 氧气闸,乙炔闸
B. 乙炔闸,氧气闸
考生回答
--
正确答案
B
答案解析
乙炔是可燃气体,氧气是助燃气体,空气中也有氧气,切断可燃气体才能关闭气焊。
打分
16. (通识)这属于哪一种标志?(1分)


A. 警告标志
B. 禁止标志
C. 指示标志
D. 提示标志
考生回答
--
正确答案
C
答案解析
A警告标志为黄底黑图案,使人们注意可能发生的危险。B禁止标志为白底红圈黑图案,表示不准或制止人们的某种行为。C指示标志为蓝底白图案,表示必须遵守,用来强制或限制人们的行为。D提示标志为绿底白图案。
打分
17. (通识)下列哪个工种实训过程中必须戴手套?(1分)
A. 钳工
B. 铸造
C. 普车
D. 焊接
考生回答
--
正确答案
D
答案解析
钳工戴手套可防止锉削时磨出水泡,不带手套也可以;铸造对于佩戴手套无明确要求;普通车床为防止线头被缠住而禁止戴手套;焊接明确要求必须穿戴焊接防护手套。
打分
18. (焊接)气焊点燃焊炬时,应先开(),再开()调整火焰。(1分)
A. 预热氧气闸,乙炔闸
B. 乙炔闸,预热氧气闸
考生回答
--
正确答案
A
答案解析
分析:焊(割)炬点火前,应用氧气吹风,检查有无风压及堵塞,然后再开乙炔阀。
打分
19. (钳工)钻削操作时,下列说法不符合安全要求的是(1分)
A. 头部和身体不能跟钻床靠得太近,防止切屑崩出伤人
B. 不准带手套操作钻床,防止开线被钻头缠住
C. 工件要用台钳或压板固定好,防止钻削时崩飞工件
D. 将要钻通时加大进给量,用尽全力向下钻透工件
考生回答
--
正确答案
D
答案解析
将要钻通时应减小进给量,缓缓钻透。
打分
20. (通识)加工过程出现故障、异常或系统报警时,正确的做法是(1分)
A. 尝试自己检修
B. 自己找一台没有故障的机器继续练习
C. 立刻停机并报告实训指导老师,听从老师安排
D. 找其他已经实习过的同学帮忙检修
考生回答
--
正确答案
C
答案解析
加工过程出现异常或系统报警后,应及时停机并报告指导老师,待一切处理正常后方可继续操作。
打分
21. (普车、数控)女生需要在实操前盘头发的主要原因是(1分)
A. 长发在操作时可能会遮挡视线
B. 长发可能被高速旋转的零件、切屑缠住、扯掉
C. 长发可能会在操作机床时分散注意力
D. 长发露在外边可能会被飞出的切屑弄脏
考生回答
--
正确答案
B
打分
22. (普车)切削过程中,金属切屑积聚太多影响加工和视线时,正确的安全处理方式是(1分)
A. 用嘴或鼓风器直接将切屑吹走
B. 停下机床,将刀移到安全位置,用手将切屑轻轻擦掉
C. 用抹布将切屑轻轻拍打掉
D. 停下机床,将刀移到安全位置,用毛刷将切屑轻轻擦掉
考生回答
--
正确答案
D
答案解析
吹走切屑可能会将切屑吹到周围同学眼中,金属切屑对眼睛伤害很大,需用毛刷轻轻刷掉。
打分
23. (用电安全)当电气设备发生接地短路故障时,电流流入大地,在大地上形成电位分布区域,当人的双脚踏入电位分布区域时形成跨步电压,跨步电压跟人迈出步幅大小成()关系。(1分)
A. 成反比
B. 成正比
C. 没有影响
D. 无法确定
考生回答
--
正确答案
B
打分
24. (钳工)用手锯锯割材料时,用力要均匀,不能重压或强扭。为防止锯断的工件崩飞伤人,接近锯断时用力要(1分)
A. 小而慢
B. 大而快
考生回答
--
正确答案
A
打分
25. (通识)安全标志分为警告标志、禁止标志、指示标志、提示标志四种,下列属于指示标志的是:(1分)
A. 当心扎脚


B. 必须带手套


C. 严禁追逐打闹


D. 紧急出口(安全出口)


考生回答
--
正确答案
B
答案解析
A是警告标志,使人们注意可能发生的危险。B是指示标志,表示必须遵守,用来强制或限制人们的行为。C是禁止标志,表示不准或制止人们的某种行为。D是提示标志,提示目标地点或方向。
打分
26. (通识)这个标志是何含义?(1分)


A. 当心爆炸
B. 当心飞溅
C. 当心辐射
D. 当心裂变物质
考生回答
--
正确答案
B
打分
27. (数控)数控车床用最大档位X100移动倍率快速移动刀具时,一般用于(1分)
A. 正常手动切削工件时
B. 刀尖未接触到工件前或其他需要快速移动工件时
考生回答
--
正确答案
B
打分
28. (普车)下列关于普车实操安全注意事项说法正确的是(1分)
A. 车床实操时可以用隐形眼镜或太阳镜代替防护镜
B. 车床实操时必须佩戴有防爆功能的防护镜
C. 普通眼镜可以起到跟防护镜同样的防护效果
D. 只要操作者离工件远一些可以不用带防护镜
考生回答
--
正确答案
B
答案解析
在普车实训时,操作者离工件最近,需按要求带有防爆功能的防护镜,防止切屑崩入眼中。
打分
29. (普车)上机实操时,工夹量具应放在(1分)
A. 床头箱上固定位置
B. 机床旁边的工具箱上
C. 床身上方便拿取的地方
D. 一直拿在手中
考生回答
--
正确答案
B
答案解析
工具放在床头箱上操作时有可能滚落砸到工件或导轨上。床身上严禁放置任何物品以防影响加工。
打分
30. (用电安全)在三相五线制中,用U、V、W表示三条相线,N表示零线、PE表示地线,其中零线N用()电线、地线PE用()电线(1分)
A. 红色,蓝色
B. 蓝色,黑色
考生回答
--
正确答案
B
答案解析
U黄色、V绿色、W红色、N蓝色、PE黑色
打分
31. (通识)这个标志是何含义?(1分)


A. 当心卷入
B. 当心伤手
C. 当心机械伤人
D. 当心夹手
考生回答
--
正确答案
C
打分
二、多选题
32. (用电安全)在三相五线制中,以下两线之间的电压为220V的是()(1分)
A. 两条相线之间
B. 相线和零线之间
C. 相线和地线之间
D. 零线和地线之间
考生回答
--
正确答案
B、C
打分
33. (钳工)在工件上钻削Φ6mm以上较大的孔时,为防止工件崩飞,固定工件安全正确的方法是(1分)
A. 用台虎钳夹紧工件加工
B. 用压板将工件压紧、固定在工作台上
C. 用手握持工件进行钻削
D. 用手拿钳子夹住工件进行钻削
考生回答
--
正确答案
A、B
答案解析
用手直接拿工件,或者用钳子夹着工件两种方式握持力较小,容易造成工件崩飞伤人的后果。
打分
34. (通识)下列有关实训安全的说法,正确的有(1分)
A. 实训场地内的任何设备,未经允许不得乱动。
B. 不准在实训场地内追逐、打闹。
C. 实操过程中不准戴耳机听音乐。
D. 不准私自调换机床、工位。
考生回答
--
正确答案
A、B、C、D
打分
35. (钳工)钳工实操前应进行的安全检查有(1分)
A. 工件装夹是否牢靠
B. 工件装夹位置是否正确
C. 毛坯和加工零件是否摆放整齐,方便取用
D. 工具、量具是否按惯用手放置到台钳两侧且不能伸出工作台外
考生回答
--
正确答案
A、B、C、D
打分
36. (普车)普车启动前需要进行的安全检查有(1分)
A. 检查机床手柄位置是否正确
B. 检查床身、导轨上有无杂物
C. 检查头发、工作服、防护镜等个人安全防护是否准备到位
D. 检查工件装夹是否牢固,工夹量具是否放在安全位置
考生回答
--
正确答案
A、B、C、D
打分
37. (普车、数控)切削练习时金属切屑崩入眼中,正确的处理方式是(1分)
A. 用手揉出来
B. 用大量的水冲洗出来
C. 自己用工具挑出来
D. 去医院处理
考生回答
--
正确答案
B、D
答案解析
金属切屑边沿锋利,崩入眼睛后揉眼可能会划伤眼角膜,或扎入角膜更难取出。正确方式要用清水冲洗,如扎得太深需立刻去医院处理。
打分
38. (特种)启动电火花线切割机床前,需要做的安全准备工作有(1分)
A. 检查工件是否夹紧,是否与电极良好接触
B. 检查电极丝松紧度是否合适,电极丝垂直度,走丝时是否抖动
C. 检查工作液循环系统是否畅通
D. 检查机床周围有无障碍物
考生回答
--
正确答案
A、B、C、D
打分
39. (普车、数控)上机实操前需要将工作服穿好,拉链拉紧,领口袖口扣子扣上的主要安全原因是(1分)
A. 防止过长的袖口被高速旋转的工件缠住,扯进去
B. 防止蚊虫叮咬
C. 防止领绳、流苏或其他零碎的衣物饰品露出,缠住工件或手柄
D. 防止实训时产生的切屑、灰尘弄脏皮肤
考生回答
--
正确答案
A、C
打分
40. (数控)数控车正式加工前需要进行的安全检查包括(1分)
A. 程序测试、空运行两个选项是否已关闭
B. 工件坐标系是否设置正确
C. 进给倍率旋钮是否旋到零
D. 加工程序是否已经模拟运行完毕并且没有报错
考生回答
--
正确答案
A、B、C、D
答案解析
程序测试不关机床还处在模拟运行状态,不会加工; 空运行不关车刀会以最快速度移动,导致撞飞工件; 工件坐标系不正确加工出的工件尺寸不准确; 进给倍率调到0是为了方便手动控制刀具移动速度; 提前模拟运行程序是为了检查程序是否有编写错误。
打分
41. (数控)数控铣床启动前需要进行的安全检查有(1分)
A. 铣床工作台上是否有杂物
B. 工件是否装卡在平口钳中间位置且装夹牢靠
C. 升降台手柄、平口钳扳手、垫铁等工具是否摆放在工作台的安全区域里
D. 工作服、安全帽、防护镜等安全防护是否穿戴妥当
考生回答
--
正确答案
A、B、C、D
打分
42. (特种)下列关于激光雕刻机使用时需注意的安全事项,说法正确的有(1分)
A. 雕刻过程中严禁遮挡激光光路,避免造成烫伤或引燃衣物
B. 雕刻过程中可能因高温产生明火,严禁在加工时离开机器
C. 雕刻过程中可能会产生烟尘和有毒气体,不能将保护罩打开
D. 不要趴在保护罩上盯着加工过程
考生回答
--
正确答案
A、B、C、D
打分
43. (普车、数控)急停按钮失灵时,操作者可以采取的安全应对措施有(1分)
A. 立刻踩下刹车踏板
B. 将启动手柄放到停车档停机
C. 直接关上配电箱电源开关
D. 关掉机床总电源开关
考生回答
--
正确答案
A、B、C、D
打分
44. (特种)下列关于激光雕刻机使用时需注意的安全事项,说法正确的有(1分)
A. 雕刻过程中严禁遮挡激光光路,避免造成烫伤或引燃衣物
B. 雕刻过程中可能因高温产生明火,严禁在加工时离开机器
C. 雕刻过程中可能会产生烟尘和有毒气体,不能将保护罩打开
D. 不要趴在保护罩上盯着加工过程
考生回答
--
正确答案
A、B、C、D
打分
45. (特种)激光打标机使用时的安全注意事项包括(1分)
A. 打标过程中不能触碰打标机激光的焦点
B. 打标机工作时不能触碰激光打标头
C. 打标过程中操作者不能离开机器
D. 打标机外壳必须可靠接地
考生回答
--
正确答案
A、B、C、D
打分
46. (通识)下列哪些物品可以在实训时穿戴或使用?(1分)
A. 围巾
B. 耳塞
C. 口罩
D. 鸭舌帽
考生回答
--
正确答案
C、D
答案解析
围巾、耳机线等零碎的物品会妨碍操作,且可能被工件、手柄缠住出现危险情况。带耳塞或听音乐、广播会掩盖机器发出的异常噪音,导致无法及时发现异常情况,出现安全事故。 口罩在疫情期间按要求佩戴;鸭舌帽用来给长发的同学固定头发,防止练习时被机器卷入。
打分
47. (特种)电火花线切割机床使用时需注意的安全事项有(1分)
A. 机床在换丝、紧丝、穿丝时须断电,防止误操作启动机器
B. 储丝筒手柄使用完后立即取下,防止甩出伤人
C. 机床运行中禁止触碰电极丝或工件,防止触电或割伤
D. 机床运转中操作者不得离开
考生回答
--
正确答案
A、B、C、D
打分
48. (通识)下列哪些工种实训过程中绝对不允许戴手套?(1分)
A. 普车
B. 钳工
C. 数控机床
D. 焊接
考生回答
--
正确答案
A、C
答案解析
钳工对手套无明确要求;焊接明确要求必须穿戴焊接防护手套。普通车床和数控机床为防止手套开线被缠住而禁止戴手套。
打分
49. (通识)下列哪些鞋子适合在实训场地内穿着?(1分)
A. 凉鞋
B. 高跟鞋
C. 登山鞋
D. 拖鞋
E. 篮球鞋
考生回答
--
正确答案
C、E
答案解析
实训场地中有飞溅的金属碎屑,需要穿鞋底厚,全覆盖,保护性好的鞋子,以防扎脚。
打分
50. (焊接)下列关于气焊的说法,正确的是(1分)
A. 使用前检查射吸式割炬情况
B. 点火前检查各气阀和连接处是否漏气
C. 焊嘴温度过高时可以放入水中冷却
D. 焊嘴不得沾有油脂
考生回答
--
正确答案
A、B、C、D
打分
51. (数控)数控铣床装卡工件时需要注意的安全问题有 (1分)
A. 装卡前先将平口钳内切屑清扫干净
B. 工件在平口钳中间位置垫平
C. 装卡时先预加紧,找正工件后再加紧
D. 加紧后晃动垫铁,检查工件底面是否紧贴垫铁
考生回答
--
正确答案
A、B、C、D
打分
52. (焊接)电焊实训需穿戴的安全保护用品包括(1分)
A. 防护面罩
B. 绝缘劳保鞋
C. 焊接专用绝缘手套
D. 焊接专用防燃工作服
考生回答
--
正确答案
A、B、C、D
打分
53. (通识)实训结束后,需要进行的安全检查有(1分)
A. 检查设备电源是否已关闭
B. 检查工、夹、量具是否收好
C. 检查设备表面是否清理干净、有无遗留的工件、工具或未打扫的切屑
D. 检查实训区域是否整理完毕,有无甩出的切屑、掉落的工件或工具
考生回答
--
正确答案
A、B、C、D
打分
54. (数控)数控车床启动前需要进行的安全检查有(1分)
A. 机床床身、导轨上是否有杂物
B. 工件、刀具是否装卡牢靠
C. 卡盘扳手、游标卡尺等工具是否摆放在了安全位置
D. 机床防护罩是否关上
E. 工作服、安全帽等安全防护是否穿戴妥当
考生回答
--
正确答案
A、B、C、D、E
打分
55. (普车)实操时出现严重操作失误时,操作者可以采取的安全应对措施有(1分)
A. 立刻按下急停按钮
B. 立刻踩下刹车踏板
C. 立刻跑开远离机床,并关上配电箱电源开关
D. 立刻高声呼喊寻求老师帮助
考生回答
--
正确答案
A、B、C、D
打分
56. (普车)普车运行时不能站在有可能被崩飞的工件砸中或妨碍到他人的位置,下列位置中安全的站位是(1分)
A. 车床右侧,导轨尾端位置
B. 机床背面,正对工件的位置
C. 机床正前方,不正对工件的位置
D. 操作者身后的位置
考生回答
--
正确答案
A、C
答案解析
工件崩飞时会向前、后或正上方飞出,不正对工件和导轨尾端的位置安全,站在操作者身后会妨碍操作者移动。
打分
57. (焊接)焊接下列关于焊接实习过程中安全注意事项的说法,正确的有(1分)
A. 焊接后的工件禁止用手触摸,防止烫伤
B. 焊接后的工件要统一摆放到指定位置,不准乱扔乱放
C. 氧气瓶严禁与油污接触,不能强烈震动,防止爆炸
D. 电焊钳不准放在工作台上,以免造成短路
考生回答
--
正确答案
A、B、C、D
打分
58. (焊接)电焊实训操作前需检查的内容包括(1分)
A. 安全防护用品是否穿戴整齐
B. 焊钳、焊接电缆外壳绝缘层是否完好无损
C. 焊机外壳是否保护接地
D. 周围环境不能有易燃易爆物品
考生回答
--
正确答案
A、B、C、D
打分
59. (特种)特种激光雕刻机启动前须进行的安全准备工作有(1分)
A. 检查水冷、通风系统是否正常工作
B. 检查工作台区域内是否有反光物品
C. 检查机器外壳是否可靠接地
D. 戴好合适的防激光护目镜
考生回答
--
正确答案
A、B、C、D
打分
60. (铸造)铸造实习造型过程中需注意的安全操作注意事项包括(1分)
A. 撒分型砂后切勿用嘴去吹,防止沙尘入眼
B. 造型时舂砂用的舂子用完后水平放在身旁,切勿垂直放置,防止倾倒伤人
C. 切勿将造型工具或其他杂物、金属碎片埋入砂中,防止扎伤皮肤
D. 砂箱不用时应摆放在指定位置,防止绊脚或掉落砸伤脚
考生回答
--
正确答案
A、B、C、D
打分
61. (普车)车削过程工件产生振动主要原因有两点:1是刀架移动速度过快,2是刀刃切得太深太厚,造成切削力过大,如不及时处理可能会崩飞工件。普车切削过程中如果工件发出噪音、产生振动,安全正确的处理方式是(1分)
A. 无视振动噪音继续切削工件
B. 减小刀刃切削厚度,或让刀具退出离开工件
C. 立刻停下自动走刀,或降低刀架移动速度
考生回答
--
正确答案
B、C
打分
三、判断题
62. (普车、数控)车床实训时,每台机床除操作者外还需安排一位同组同学作为安全员在旁等待,出现操作失误时及时按下急停按钮。(1分)
对
错
考生回答
--
正确答案
对
打分
63. (焊接)电焊焊接时临时接地线头严禁浮搭,必须固定、压紧,用胶布包严。(1分)
对
错
考生回答
--
正确答案
对
打分
64. (数控)机床加工过程中必须关闭安全防护门。(1分)
对
错
考生回答
--
正确答案
对
打分
65. (铸造)铸造实训中,沙箱应摆放在工作台中央位置使用,防止掉落砸伤脚。(1分)
对
错
考生回答
--
正确答案
对
打分
66. (普车)使用完的卡盘扳手、游标卡尺 等工、夹、量具可以直接放在床身上不影响操作又方便取用的位置(1分)
对
错
考生回答
--
正确答案
错
答案解析
工、夹、量具必须放在指定的安全位置,不可放在车床床身上。
打分
67. (特种)电火花线切割加工前应关好防护罩,防止冷却液溅出及残余应力使工件在切割过程中开裂伤人(1分)
对
错
考生回答
--
正确答案
对
打分
68. (焊接)清理焊渣时需用防护面罩遮住焊缝再敲击清理,防止渣皮溅入眼睛。(1分)
对
错
考生回答
--
正确答案
对
打分
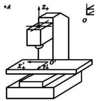
69. (数控)数控铣床工件坐标系使用的是右手笛卡尔直角坐标系,X、Y、Z三个坐标轴正方向分别朝向前左、前、上(1分)


对
错
考生回答
--
正确答案
对
答案解析
坐标系正方向见图片
打分
70. (钳工)钳工加工操作前应检查手锤或锉刀等工具的手柄安装是否牢固。(1分)
对
错
考生回答
--
正确答案
对
打分
71. (焊接)气焊作业中发现氧气闸失灵或损坏不能关闭时,应待瓶内氧气自动逸尽后拆卸检修。(1分)
对
错
考生回答
--
正确答案
对
打分
72. (钳工)钳工操作时工件必须按要求牢固地装夹在台钳上,而且必须留有足够长的夹持部分。(1分)
对
错
考生回答
--
正确答案
对
打分
73. (焊接)焊接里“红铁不烫人黑铁烫人”这句话意思是高温烧红的铁大家都知道避开,不会烫伤人,而还未冷却到常温的“黑铁”往往会让人大意而去触摸,容易烫伤人(1分)
对
错
考生回答
--
正确答案
对
打分
74. (特种)电火花线切割实训加工过程中不要接触电极丝,防止划伤皮肤。(1分)
对
错
考生回答
--
正确答案
对
打分
75. (数控)数控铣床清理切屑时应当先停机,等铣刀停止旋转后再用毛刷轻轻清扫切屑。(1分)
对
错
考生回答
--
正确答案
对
打分
76. (铸造)使用手风器清理分型砂时要朝向无人方向,禁止用嘴吹分型砂,以免砂子飞入眼中。(1分)
对
错
考生回答
--
正确答案
对
打分
77. (钳工)使用砂轮时不允许身体正对砂轮,且需要戴防护眼镜。(1分)
对
错
考生回答
--
正确答案
对
答案解析
实训过程中,身体不能对着旋转零部件的切线方向,以免零部件崩飞时被砸到。
打分
78. (通识)操作时必须集中精力,不准聊天、上网、看与实训无关的书籍,或者听广播使用音响设备。(1分)
对
错
考生回答
--
正确答案
对
打分
79. (特种)电火花线切割实训时,加工过程中不可用手或手持导电体同时接触脉冲电源的两输出端,以防触电。(1分)
对
错
考生回答
--
正确答案
对
打分
80. (数控)数控车工、夹、量具用完后应放在机床右侧的工具格内,不可随意乱放埋下安全隐患(1分)
对
错
考生回答
--
正确答案
对
打分
81. (普车)启动车床后发现零件转速太高可不用停机等齿轮停止旋转,直接调整变速箱手柄挂低速挡。(1分)
对
错
考生回答
--
正确答案
错
答案解析
普车要调整零件转速必须先停机,否则可能会造成变速齿轮撞击断齿。
打分
82. (数控)数控车床在装夹、拆卸工件时其他人不能靠近数控系统,防止误触开关启动机器。(1分)
对
错
考生回答
--
正确答案
对
打分
83. (铸造)造型用砂子造型前需用筛子筛一遍,将砂中可能混入的铁钉、毛刺、金属碎片等杂物筛出。(1分)
对
错
考生回答
--
正确答案
对
打分
84. (数控)加工过程中出现加工问题或其他突发情况应直接按下急停键切断电源,并立即报告指导老师。(1分)
对
错
考生回答
--
正确答案
对
打分
85. (通识)实训过程中在各自分配到的机床或工位上进行练习,不可私自调换机床、工位。如设备有问题先向指导老师报告,听从指导老师调换机床。(1分)
对
错
考生回答
--
正确答案
对
打分
86. (焊接)电焊实训前应先穿好电焊用工作服、绝缘鞋,戴好电焊手套、防护面罩,再开始实训操作。(1分)
对
错
考生回答
--
正确答案
对
打分
87. (普车、数控)只要机床还在转动,操作者就不能离开机床周围区域(1分)
对
错
考生回答
--
正确答案
对
打分
88. (普车)普车开机实操前操作者须带好有防爆功能的防护镜,不可用普通太阳镜代替(1分)
对
错
考生回答
--
正确答案
对
打分
89. (数控)使用数控系统过程中,不得调用、修改非本人所编写的程序(1分)
对
错
考生回答
--
正确答案
对
打分
90. (用电安全)人体电阻是纯电阻。(1分)
对
错
考生回答
--
正确答案
错
打分
91. (通识)实训开始前检查所用设备、工具是否正常,如有损坏或故障立即停止使用并报告老师。(1分)
对
错
考生回答
--
正确答案
对
打分
92. (焊接)气焊实训,开启氧气瓶阀门时身体不能正对瓶口(1分)
对
错
考生回答
--
正确答案
对
打分
93. (数控)数控车床在运行程序加工过程中必须有人全程监控机床运行状态,防止出现突发情况造成危险。(1分)
对
错
考生回答
--
正确答案
对
打分
94. (通识)上课时间内不准在与本实训工种无关的其他实训区域内逗留,聊天。(1分)
对
错
考生回答
--
正确答案
对
打分
95. (普车)天气炎热时可以敞着怀进行车床实操训练(1分)
对
错
考生回答
--
正确答案
错
打分
96. (数控)数控程序未经指导老师检验不得私自运行。(1分)
对
错
考生回答
--
正确答案
对
打分
97. (普车、数控)切削工件时刀具不能扎进工件太深,否则可能把工件崩飞,刀尖崩断(1分)
对
错
考生回答
--
正确答案
对
打分
98. (普车、数控)车床实训时,每台机床必须单人独自操作,不可几个同学同时围在机床左右,以免误碰开关造成事故。(1分)
对
错
考生回答
--
正确答案
对
答案解析
多人操作一台机床可能会出现一人还没安装好,另一人已启动机器的危险情况。
打分
99. (普车、数控)正常切削工件时,主轴需正转启动,反转启动切削工件会损坏刀具。(1分)
对
错
考生回答
--
正确答案
对
打分
100. (普车、数控)切削加工时,为防止碰断刀尖,应先启动主轴,让工件旋转起来,再将刀具移过去切削。(1分)
对
错
考生回答
--
正确答案
对
答案解析
工件未旋转时刀具与工件接触产生的是挤压力而不是切削力,极易将刀头挤碎。
打分
101. (普车)上机操作前需将工作服拉链拉紧,领口、袖口的扣子扣上(1分)
对
错
考生回答
--
正确答案
对
打分
102. (通识)上机操作前女生要将长发和辫子盘到头上,用工作帽盖住,固定好(1分)
对
错
考生回答
--
正确答案
对
答案解析
长发可能被高速旋转的零件、切屑缠住、扯掉。
打分
103. (普车)车床实训时,实训人员不能站在机器旋转部分的切线方向上,以免零件崩飞时被砸到受伤。(1分)
对
错
考生回答
--
正确答案
对
打分